社区应用 最新帖子 精华区 社区服务 会员列表 统计排行
  • 981阅读
  • 2回复

[摄影器材]再添一镜!佳能今年将推出RF70-400mm镜头

楼层直达
z3960 
级别: FLY版主
发帖
875580
飞翔币
132575
威望
325957
飞扬币
4001582
信誉值
8


在去年九月,外媒曝光了佳能的一系列镜头专利,包括两支长焦变焦镜头,其中的一支镜头为RF70-400mm f/4.5-5.6 L IS USM镜头,而近日外媒称今年佳能将会发布这支镜头。这支镜头的部分信息已经在专利中曝光,据称这支镜头的尺寸将于早前发布的RF70-200mm f/2.8 L IS USM镜头近似。
  图为现款佳能RF70-200mm f/2.8 L IS USM镜头

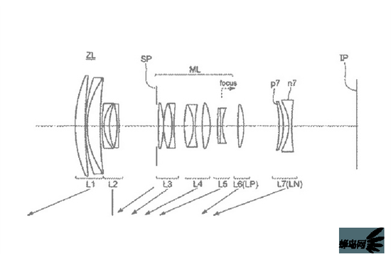
  ·Canon RF 70-400mm f/4.5-5.6L IS USM专利信息

  Canon RF 70-400mm f/4.5-5.6L IS USM专利图片
  焦距:72.62mm-168.49mm-389.89mm
  光圈值:4.07-5.10-5.85
  半视角:16.59°-7.32°-3.18°
  图像高度: 21.64mm-21.64mm-21.64mm
  镜头长度:187.91mm-236.14mm-268.26mm
  ·编辑观点
  这支镜头的推出显然会进一步扩展RF卡口镜头产品线,使EOS R专微系统能够拍摄更多题材类型。而同时优异的体积控制也对用户十分友好,我们也十分期待在今年内见到这支镜头。
 
我不喜欢说话却每天说最多的话,我不喜欢笑却总笑个不停,身边的每个人都说我的生活好快乐,于是我也就认为自己真的快乐。可是为什么我会在一大群朋友中突然地就沉默,为什么在人群中看到个相似的背影就难过,看见秋天树木疯狂地掉叶子我就忘记了说话,看见天色渐晚路上暖黄色的灯火就忘记了自己原来的方向。
级别: 超级版主
发帖
933251
飞翔币
274900
威望
224933
飞扬币
2879271
信誉值
0

只看该作者 1 发表于: 2020-01-13
来看一下
级别: 超级版主
发帖
933251
飞翔币
274900
威望
224933
飞扬币
2879271
信誉值
0

只看该作者 2 发表于: 2020-01-13
不错,了解了